
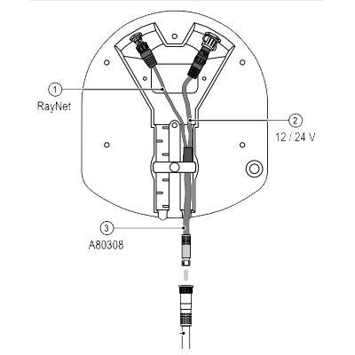
Quantum Radar Adapter Cable
Quantum Adapter Cable
- MFG# A80308
- used to adapt Quantum Radome to cable from older Digital series radars
- Saves having to run a new power and data cables
- MFG# A80308
- used to adapt Quantum Radome to cable from older Digital series radars
- Saves having to run a new power and data cables